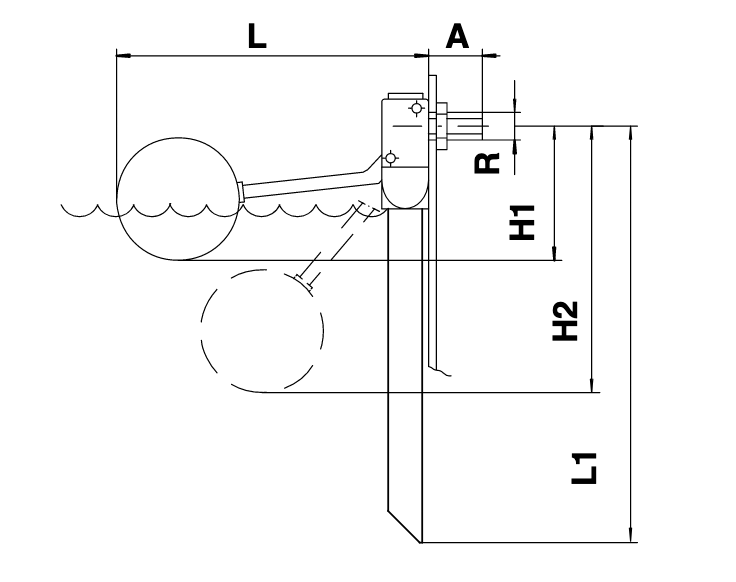
Fig 200 AB Float Valve
- 10mm to 65mm port diameter
- 3/8” to 2 1/2” BSP connection
- All 316 stainless steel
- Flow rates up to 79,275 litres per hr
- Rated up to 10 Bar
- Silcon seal (others available)
- Description
- Downloads
- Product Catalogue
The Fig 200 AB Float Valve is a high-performance, stainless steel float valve designed for precision water level control in a wide range of applications. Manufactured entirely from AISI 316 stainless steel (CF8M), it offers exceptional corrosion resistance, durability, and hygiene, making it ideal for demanding environments including food processing, water treatment, and cooling systems.
Available in port sizes from 10mm to 65mm and BSP connections from 3/8" to 2½", this float valve handles flow rates up to 79,275 litres per hour and pressures up to 10 bar. The patented valve system ensures a secure, progressive seal with minimal float force. Equipped with a silicone shutter as standard, optional seal materials like VITON, EPDM, BUNA, or PTFE are also available. For turbulent water or shaken tanks, reinforced levers are recommended. Built to DIN-ISO 228/1985 and rated PN-16, the Fig 200 AB offers performance, reliability, and long service life.
Customers also viewed
£0.00
Liquid error (snippets/product-item line 160): Could not find asset snippets/rfq_button.liquid£45.00
Liquid error (snippets/product-item line 160): Could not find asset snippets/rfq_button.liquid£0.00
Liquid error (snippets/product-item line 160): Could not find asset snippets/rfq_button.liquid£0.00
Liquid error (snippets/product-item line 160): Could not find asset snippets/rfq_button.liquid£0.00
Liquid error (snippets/product-item line 160): Could not find asset snippets/rfq_button.liquid£0.00
Liquid error (snippets/product-item line 160): Could not find asset snippets/rfq_button.liquid£0.00
Liquid error (snippets/product-item line 160): Could not find asset snippets/rfq_button.liquid£0.00
Liquid error (snippets/product-item line 160): Could not find asset snippets/rfq_button.liquid£0.00
Liquid error (snippets/product-item line 160): Could not find asset snippets/rfq_button.liquid£0.00
Liquid error (snippets/product-item line 160): Could not find asset snippets/rfq_button.liquid













